Катодолюминисцентная излучающая лампа
Разработка

ID
S5NR-IUTB
Пользователь
Категория
H - электричество
Стоимость
20,000,000 ₽
Опубликован
27.03.2024 12:55
Срок разработки
24 месяцев
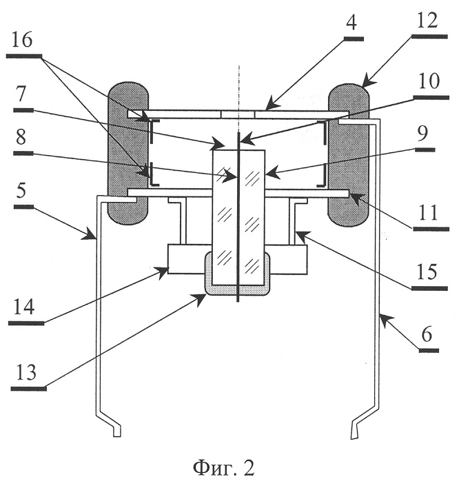
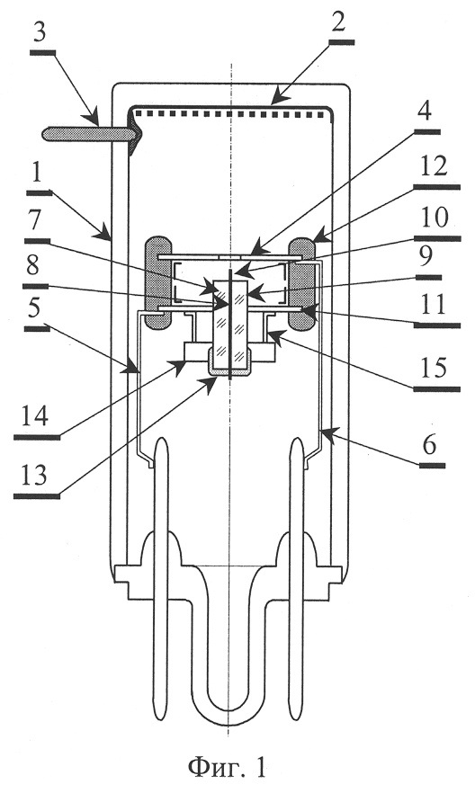
Описание
Разработка моет применяться в осветительных устройствах, а также в виде светящихся элементов цветных, монохромных, динамических и статических видеоэкранов информационных табло.
Преимущества конструкции изобретения: - все вспомогательные детали, расположенные у катода и модулятора, не создают неконтролируемых искажающих полей, вызываемых зарядами из захваченных электронов, так как они выполн
eni iz provodyashtih materialov ili imeyut provodyashtee pokritie, i soedineni s vivodami, imeyushtimi fiksirovannie potentsiali (krome minimalynih izoliruyushtih oblastey na izoliruyushtih elementah).
- katod vipolnen vibroprochnim i tochnotsentriruemim, t.k. sostoit iz puchka uglerodnih volokon, zaklyuchennogo v dielektricheskuyu, v chastnosti steklyannuyu, obolochku s dostatochnim dlya tsentrovki diametrom, a emittiruyushtaya poverhnosty tortsa puchka, sostoyashtaya iz mnozhestva fibrill, po mere postepennogo razrusheniya v protsesse ekspluatatsii samovosstanavlivaetsya s sohraneniem obshtego srednego chisla emitiruyushtih fibrill.
Преимущества конструкции изобретения: - все вспомогательные детали, расположенные у катода и модулятора, не создают неконтролируемых искажающих полей, вызываемых зарядами из захваченных электронов, так как они выполн
eni iz provodyashtih materialov ili imeyut provodyashtee pokritie, i soedineni s vivodami, imeyushtimi fiksirovannie potentsiali (krome minimalynih izoliruyushtih oblastey na izoliruyushtih elementah).
- katod vipolnen vibroprochnim i tochnotsentriruemim, t.k. sostoit iz puchka uglerodnih volokon, zaklyuchennogo v dielektricheskuyu, v chastnosti steklyannuyu, obolochku s dostatochnim dlya tsentrovki diametrom, a emittiruyushtaya poverhnosty tortsa puchka, sostoyashtaya iz mnozhestva fibrill, po mere postepennogo razrusheniya v protsesse ekspluatatsii samovosstanavlivaetsya s sohraneniem obshtego srednego chisla emitiruyushtih fibrill.
Медиафайлы
Патенты
КАТОДОЛЮМИНЕСЦЕНТНАЯ ИЗЛУЧАЮЩАЯ ЛАМПА
RU2260224