Катодолюминесцентный источник ультрафиолетового излучения
Разработка

ID
PQF5-N60K
Пользователь
Категория
H - электричество
Стоимость
200,000,000 ₽
Опубликован
27.03.2024 13:15
Срок разработки
24 месяцев
Описание
Изобретение может быть использовано при создании ультрафиолетовых ламп, предназначенных для применения в различных областях, таких как обеззараживание воды и воздуха, сортировка и анализ минералов, лазерная техника, оптоэлектроника.
Результат разработки заключается в повышении равномерности засветки УФ-люминофора, что повышает эффективность устройства и экономичность ультрафиолетовой лампы.
Kratkoe opisanie konstruktsii razrabotki:
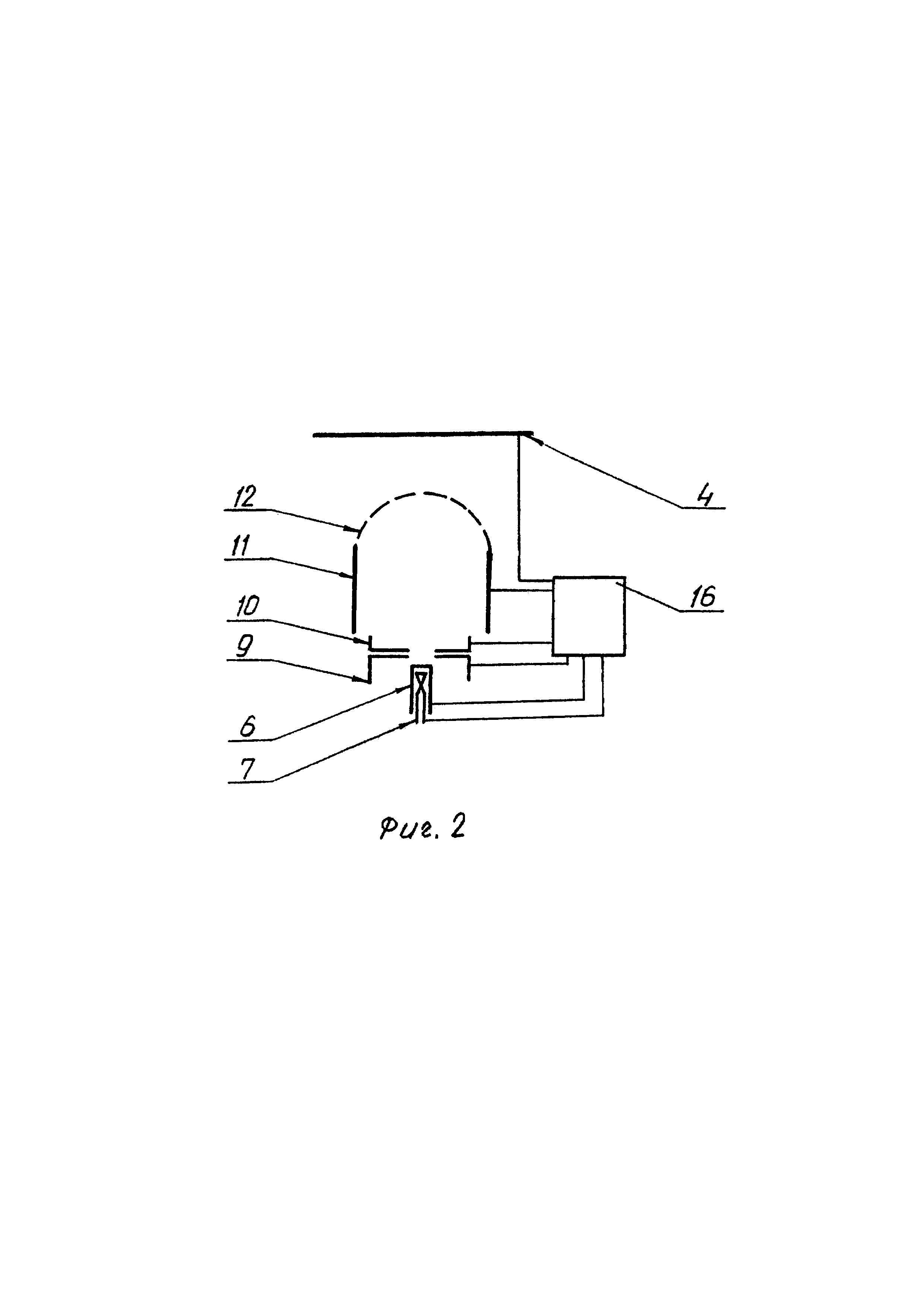
Katodolyuminestsentniy istochnik ulytrafioletovogo izlucheniya, soderzhit:
- otkachannuyu kolbu;
- UF-lyuminofor, nanesenniy na pervoy tortsevoy poverhnosti otkachannoy kolbi;
- sloy alyuminiya, raspolozhenniy na UF-lyuminofore i formiruyushtiy ploskuyu poverhnosty ekrana;
- termokatod s nagrevatelem, raspolozhenniy v zone vtoroy tortsevoy poverhnosti otkachannoy kolbi;
- modulyator, raspolozhenniy mezhdu termokatodom i sloem alyuminiya;
- uskoryayushtiy elektrod, raspolozhenniy mezhdu modulyatorom i sloem alyuminiya;
- fokusiruyushtiy elektrod, raspolozhenniy mezhdu uskoryayushtim elektrodom i sloem alyuminiya.
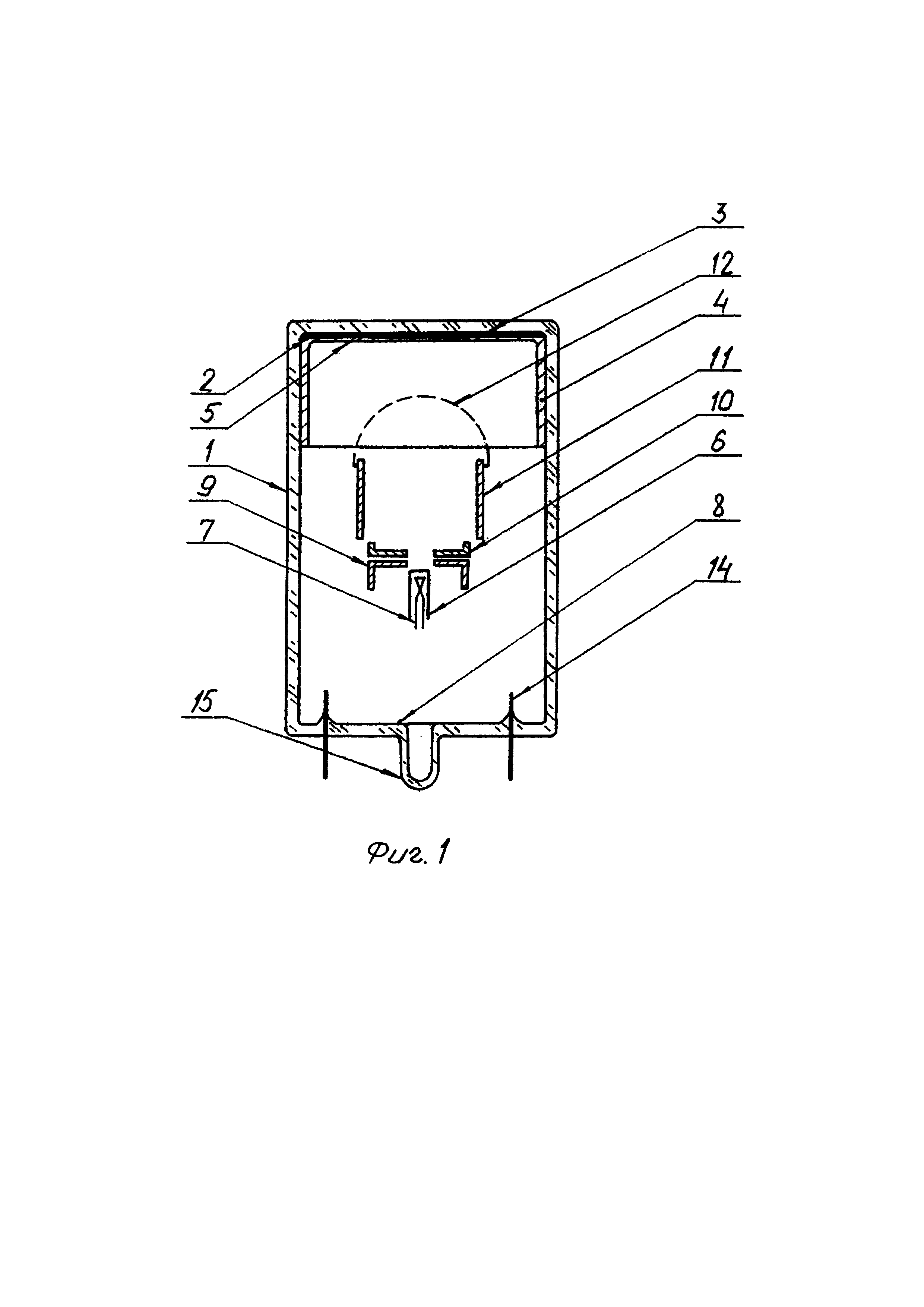
Spetsialynim obrazom vvoditsya provodyashtaya setka, zakreplennaya na fokusiruyushtem elektrode i raspolozhennaya s vozmozhnostyyu dopolnitelynoy fokusirovki potoka elektronov na ploskuyu poverhnosty ekrana.
Sushtestvuyut razlichnie varianti vozmozhnoy realizatsii izobreteniya, takie kak:
- provodyashtaya setka imeet polusfericheskuyu formu i raspolozhena vipukloy storonoy v storonu sloya alyuminiya. Takzhe provodyashtaya setka mozhet bity ploskoy ili imety prozrachnosty svishe 50%;
- modulyator, uskoryayushtiy elektrod i fokusiruyushtiy elektrod raspolozheni takim obrazom, chto vozmozhno svedenie puchka elektronov na poverhnosty provodyashtey setki;
- blok pitaniya vklyuchaet moduly impulysnogo napryazheniya, obespechivayushtiy podachu impulysnogo napryazheniya na termokatod.
Результат разработки заключается в повышении равномерности засветки УФ-люминофора, что повышает эффективность устройства и экономичность ультрафиолетовой лампы.
Kratkoe opisanie konstruktsii razrabotki:
Katodolyuminestsentniy istochnik ulytrafioletovogo izlucheniya, soderzhit:
- otkachannuyu kolbu;
- UF-lyuminofor, nanesenniy na pervoy tortsevoy poverhnosti otkachannoy kolbi;
- sloy alyuminiya, raspolozhenniy na UF-lyuminofore i formiruyushtiy ploskuyu poverhnosty ekrana;
- termokatod s nagrevatelem, raspolozhenniy v zone vtoroy tortsevoy poverhnosti otkachannoy kolbi;
- modulyator, raspolozhenniy mezhdu termokatodom i sloem alyuminiya;
- uskoryayushtiy elektrod, raspolozhenniy mezhdu modulyatorom i sloem alyuminiya;
- fokusiruyushtiy elektrod, raspolozhenniy mezhdu uskoryayushtim elektrodom i sloem alyuminiya.
Spetsialynim obrazom vvoditsya provodyashtaya setka, zakreplennaya na fokusiruyushtem elektrode i raspolozhennaya s vozmozhnostyyu dopolnitelynoy fokusirovki potoka elektronov na ploskuyu poverhnosty ekrana.
Sushtestvuyut razlichnie varianti vozmozhnoy realizatsii izobreteniya, takie kak:
- provodyashtaya setka imeet polusfericheskuyu formu i raspolozhena vipukloy storonoy v storonu sloya alyuminiya. Takzhe provodyashtaya setka mozhet bity ploskoy ili imety prozrachnosty svishe 50%;
- modulyator, uskoryayushtiy elektrod i fokusiruyushtiy elektrod raspolozheni takim obrazom, chto vozmozhno svedenie puchka elektronov na poverhnosty provodyashtey setki;
- blok pitaniya vklyuchaet moduly impulysnogo napryazheniya, obespechivayushtiy podachu impulysnogo napryazheniya na termokatod.
Медиафайлы
Патенты
Катодолюминесцентный источник ультрафиолетового излучения
RU211771