Установка для нанесения покрытий

Разработка


ID
5FBJ-86A5
Категория
C - химия; металлургия
Опубликован
11.04.2024 13:43

Описание

Полезная модель относится к области нанесения покрытий при физическом распылении металлов, а более конкретно к установкам ионно-плазменного распыления в которых постоянное магнитное поле перпендикулярно постоянному электрическому полю. Предлагаемая полезная модель может быть использована в электронике, машиностроении, оптике, медицинской технике и других отраслях промышленности при подготовке обра
ztsov dlya posleduyushtego issledovaniya.

Izvestna ustanovka dlya napileniya pokritiy v vakuume (Patent RF №2214447, opublikovan 2003.07.10, MPK, S 23 S 14/35), kotoraya vklyuchaet vakuumnuyu kameru, raspiliteli misheney-katodov s anodnimi blokami, ustroystva dlya evakuatsii i regulirovaniya podachi gaza, prisposoblenie, na kotorom krepyatsya derzhateli, i ustroystvo dlya vrashteniya prisposobleniya. Vrashtenie prisposobleniya i derzhateley osushtestvlyayut v raznih napravleniyah. Raspiliteli misheney-katodov raspolozheni pod uglom i smeshteni po visote otnositelyno drug druga. Vnutrennyaya poverhnosty kameri snabzhena lozhnimi stenkami, a derzhateli podlozhek imeyut formu prizm, prichem kazhdaya grany prizm prozrachna ne menee chem na 75%. Podlozhki i anodnie bloki raspiliteley galyvanicheski svyazani mezhdu soboy i s polozhitelynim elektrodom. Misheni-katodi i lozhnie stenki svyazani s otritsatelynim elektrodom. Mezhdu prisposobleniem dlya krepleniya derzhateley i ustroystvom dlya ego vrashteniya ustanovlen ekran, galyvanicheski izolirovanniy ot kameri. Ustanovka primenyaetsya dlya naneseniya pokritiy po vsey poverhnosti podlozhek, vklyuchaya tilynuyu ih storonu.

Nedostatkom izvestnoy ustanovki yavlyaetsya ee konstruktivnaya slozhnosty. Krome togo, ispolyzovanie takoy ustanovki dlya napileniya

obraztsov, kotorie primenyayutsya dlya dalyneyshego izucheniya v protsesse provedeniya nauchnih issledovaniy prosto netselesoobrazno v silu ee slishkom visokoy proizvoditelynosti.

Izvestno takzhe ustroystvo dlya naneseniya pokritiy na baze magnetrona (Patent RF №2218450, opubl. 2003.08.27, MPK S 23 S 14/35, H 01 J 25/50), kotoroe soderzhit misheny-katod, anod, ustanovlenniy na tsilindricheskom derzhatele, ohlazhdaemuyu magnitnuyu sistemu. Dlya ohlazhdeniya magnitnoy sistemi primenyayut holodnuyu vodu. Ustroystvo sopryagayut s vakuumnoy kameroy, v kotoroy razmeshtayut obrazets, na kotoriy nanosyat pokritie.

Dannoe ustroystvo yavlyaetsya prototipom predlagaemoy poleznoy modeli. Odnako, hotya ono i otlichaetsya sushtestvenno bolyshey prostotoy po sravneniyu s analogom (Patent RF №2214447), tem ne menee neobhodimosty ispolyzovaniya vodyanogo ohlazhdeniya magnitnoy sistemi uslozhnyaet konstruktsiyu i uvelichivaet stoimosty ustroystva.

Zadacha, postavlennaya pri sozdanii predlagaemoy poleznoy modeli, sostoyala v razrabotke konstruktivno prostoy i deshevoy v izgotovlenii i ekspluatatsii ustanovki dlya naneseniy pokritiy.

Postavlennaya zadacha v predlagaemoy ustanovke dlya naneseniya pokritiy, soderzhashtey vakuumnuyu kameru, magnetron, imeyushtiy katod, magnitnuyu sistemu, snabzhennuyu ustroystvom ohlazhdeniya, i misheny, reshaetsya tem, chto, chto katod vipolnen v vide stakana, germetichno ustanovlennogo v vakuumnoy kamere. Vnutri stakana razmeshtena magnitnaya sistema s ustroystvom ohlazhdeniya, snabzhennim teplootvodyashtim osnovaniem, soprikasayushtimsya s poverhnostyyu nazvannoy sistemi, i teplovimi trubami, kontsevie sektsii kotorih

podklyucheni, sootvetstvenno, k nazvannomu osnovaniyu i teploobmenniku, a anod vipolnen v vide stenok vakuumnoy kameri.

Teploobmennik mozhet bity vipolnen v vide orebrennogo radiatora, a sama ustanovka snabzhena zashtitnim kozhuhom, ustanovlennim nad ustroystvom ohlazhdeniya i krepyashtimsya k vakuumnoy kamere, prichem v kozhuhe vipolneno okno dlya podachi ohlazhdayushtego vozduha i otverstiya dlya vihoda nagretogo vozduha.

Krome togo, ustanovka mozhet bity snabzhena ventilyatorom dlya podachi ohlazhdayushtego vozduha vnutry zashtitnogo kozhuha.

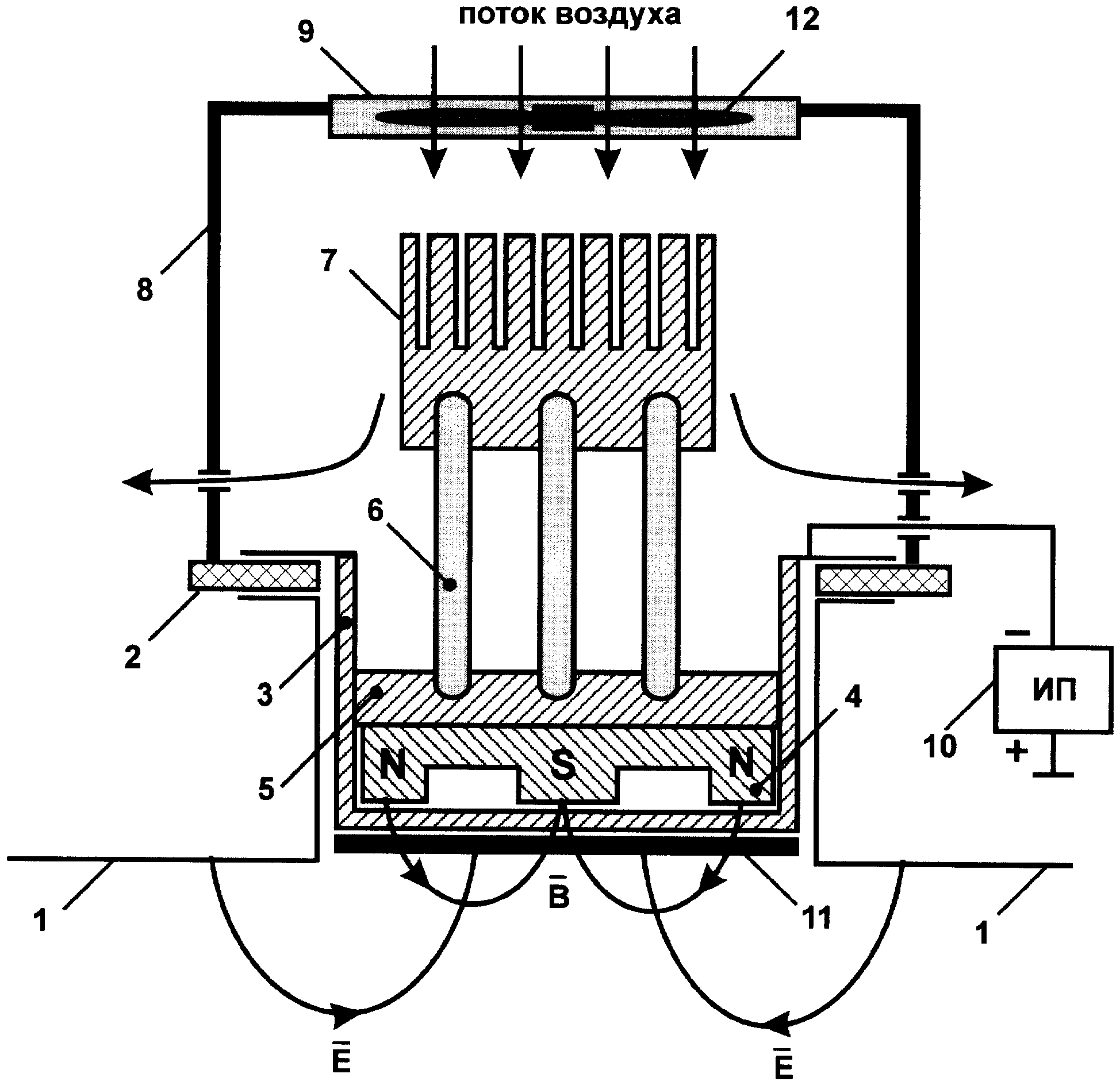
Konstruktsiya ustanovki poyasnyaetsya chertezhom. K flantsu korpusa vakuumnoy kameri 1 cherez izoliruyushtuyu prokladku 2 germetichno krepitsya korpus 3 magnetrona, vipolnenniy v vide stakana. Vnutri korpusa 3 razmeshtena magnitnaya sistema 4, verhnyaya ploskosty kotoroy soprikasaetsya s teplootvodyashtim osnovaniem 5, kotoroe cherez teplovie trubi 6 podklyucheno k teploobmenniku 7. Osnovanie 5, teplovie trubi 6 i teploobmennik 7 obrazuyut ustroystvo ohlazhdeniya, obespechivayushtee otvod tepla ot magnitnoy sistemi 4 k okruzhayushtey srede. Ustroystvo ohlazhdeniya mozhet bity zakrito zashtitnim kozhuhom 8, v tortsevoy stenke kotorogo vipolneno okno 9 dlya podachi atmosfernogo vozduha, a v bokovoy stenke sdelani otverstiya dlya vihoda nagretogo vozduha. Korpus 3 elektricheski soedinen s otritsatelynim polyusom istochnika pitaniya 10 i vipolnyaet funktsiyu katoda. Misheny 11 razmeshtena v vakuumnoy kamere pod dnishtem korpusa magnetrona. Dlya intensifikatsii otvoda tepla ot teploobmennika 7 ustanovka mozhet bity snabzhena ventilyatorom 12. Teploobmennik 7 mozhet bity vipolnen v vide orebrennogo radiatora.

Ustanovka rabotaet sleduyushtim obrazom. Vakuumnuyu kameru otkachivayut do davleniya 10-7 mm. rt.st., a zatem napuskayut v kameru plazmoobrazuyushtiy gaz - argon, uvelichivaya davlenie v kamere do 10-3 mm.rt.st. Zatem podayut ot istochnika 10 elektricheskuyu moshtnosty k magnetronu, anodom kotorogo yavlyaetsya korpus vakuumnoy kameri. Voznikaet magnetronniy razryad. Ioni argona voznikayushtie vnutri plazmennogo razryada uskoryayutsya napryazheniem v napravlenii misheni. V rezulytate bombardirovki ionami poverhnosti misheni proishodit raspilenie materiala misheni. Raspilenniy material misheni osazhdaetsya na obraztse i obrazuet na nem plenku. Obrazets ustanavlivaetsya na parallelyno misheni na rasstoyanii 5-15 sm.

Teplo, videlyayushteesya na misheni 11 otvodyat po korpusu 3 k osnovaniyu 5, kotoroe vipolnyayut iz materiala s visokoy teploprovodnostyyu. Dalee eto teplo s pomoshtyyu teplovih trubok, naprimer vodyanih trubok, perebrasivayut k teploobmenniku 7. Ot poslednego teplo otvodyat s pomoshtyyu vozduha, prichem dlya intensifikatsii teploobmena vozduh podayut ventilyatorom 12, a teploobmennik vipolnyayut v vide orebrennogo radiatora. S tselyyu soblyudeniya trebovaniy tehniki bezopasnosti ustroystvo ohlazhdeniya snabzhayut zashtitnim kozhuhom 8 s oknom 9 dlya podachi atmosfernogo vozduha.

Primer 1. Provodilosy napilenie medi s soderzhaniem 99,99 mas.% osnovnogo elementa na obrazets iz stekla diametrom 25 mm ustanovlennogo na rasstoyanii 8 sm ot misheni. Napryazhenie, podavaemoe na magnetron sostavlyalo 400-500 V pri moshtnosti podvodimoy k magnetronu 100 Vt. Pri vedenii protsessa nablyudalosy sushtestvovanie magnetronnogo razryada na misheni. Vremya napileniya sloya tolshtinoy 100 nm sostavilo 4 min.

Primer 2 Provodilosy napilenie nikelya soderzhaniem 99,99 mas.% osnovnogo elementa na obrazets iz stekla diametrom 25 mm

ustanovlennogo na rasstoyanii 8 sm ot misheni. Napryazhenie, podavaemoe na magnetron sostavlyalo 400-500 V pri moshtnosti podvodimoy k magnetronu 100 Vt. Pri vedenii protsessa nablyudalosy sushtestvovanie magnetronnogo razryada na misheni. Vremya napileniya sloya tolshtinoy 100 nm sostavilo 5,5 min.

Privedennie primeri pokazivayut, chto s pomoshtyyu predlagaemoy ustanovki prostoy konstruktsii vozmozhno izgotovlenie kachestvennih obraztsov dlya issledovaniy pri minimalynih zatratah energii i ispolyzovanii nebolyshih proizvodstvennih ploshtadey. Zamena vodyanogo ohlazhdeniya magnitnogo bloka vozdushnim sushtestvenno oblegchaet montazh ustanovki v laboratornih usloviyah. Vse eto svidetelystvuet o promishlennoy primenimosti ustanovki.

Медиафайлы

Патенты

УСТАНОВКА ДЛЯ НАНЕСЕНИЯ ПОКРЫТИЙ
RU54948