Рентгеновская трубка с автокатодом
Разработка

ID
4GPQ-ZAY4
Пользователь
Категория
H - электричество
Стоимость
150,000,000 ₽
Опубликован
27.03.2024 11:36
Срок разработки
24 месяцев
Описание
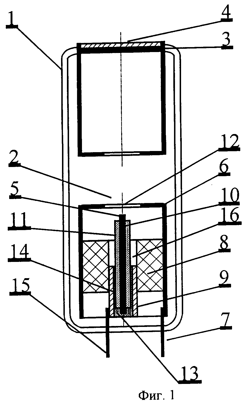
Изобретение относится к рентгеновским трубкам, содержащим автокатод, выполненный на основе углеродных материалов.
Целью настоящего изобретения является повышение стабильности работы, электропрочности, надежности и увеличение срока службы рентгеновских трубок с автокатодами.
Использование изобретения возможно:
- в приборах дефектоскопии;
- таможенной досмотровой аппарату
re;
- meditsinskih rentgenovskih apparatah, v diagnosticheskih ustanovkah rentgenovskoy spektroskopii.
Provedennie ispitaniya zayavlyaemoy rentgenovskoy trubki, otnosyashteysya k tipu miniatyurnih, podtverdili effektivnosty ee konstruktivnih resheniy. Trubka s napryazheniem pitaniya 50 kV i tokom 100 mkA prorabotala bez otkazov bolee 10000 chasov, chto svidetelystvuet o ee visokoy nadezhnosti i elektroprochnosti. Pri etom nestabilynosty harakteristik rentgenovskoy trubki sostavila menee 1%.
Целью настоящего изобретения является повышение стабильности работы, электропрочности, надежности и увеличение срока службы рентгеновских трубок с автокатодами.
Использование изобретения возможно:
- в приборах дефектоскопии;
- таможенной досмотровой аппарату
re;
- meditsinskih rentgenovskih apparatah, v diagnosticheskih ustanovkah rentgenovskoy spektroskopii.
Provedennie ispitaniya zayavlyaemoy rentgenovskoy trubki, otnosyashteysya k tipu miniatyurnih, podtverdili effektivnosty ee konstruktivnih resheniy. Trubka s napryazheniem pitaniya 50 kV i tokom 100 mkA prorabotala bez otkazov bolee 10000 chasov, chto svidetelystvuet o ee visokoy nadezhnosti i elektroprochnosti. Pri etom nestabilynosty harakteristik rentgenovskoy trubki sostavila menee 1%.
Медиафайлы
Патенты
РЕНТГЕНОВСКАЯ ТРУБКА С АВТОКАТОДОМ
RU2248643