Система электрического освещения с использованием солнечной энергии
Разработка

ID
2VCX-DEIY
Пользователь
Категория
F - машиностроение; освещение; отопление; оружие и боеприпасы; взрывные работы
Стоимость
200,000,000 ₽
Опубликован
27.03.2024 11:53
Срок разработки
30 месяцев
Описание
Предлагается вариант решения задачи преобразования солнечной энергии в электрическую и последующего использования этой электрической энергии для освещения улиц, зданий и подземных сооружений.
Изобретение представляет собой систему электрического освещения, в которой обеспечивается снижение стоимости системы, снижение потерь энергии, увеличение срока службы (не ниже 50 тыс. часов), обеспечен
ie visokih ekologicheskih harakteristik pri proizvodstve i utilizatsii lamp sistemi, dostizhenie znachitelynoy ekspluatatsionnoy effektivnosti sistemi osveshteniya za schet visokoy svetovoy otdachi i yarkosti lamp, vozmozhnosty raboti lamp v shirokom diapazone temperatur (ot -196°S do +150°S).
Tehnicheskim rezulytatom izobreteniya yavlyayutsya:
- snizhenie stoimosti sistemi elektricheskogo osveshteniya;
- snizhenie potery energii;
- obespechenie visokih ekologicheskih harakteristik pri proizvodstve i utilizatsii svetoizluchateley sistemi;
- dostizhenie znachitelynoy ekspluatatsionnoy effektivnosti za schet visokoy svetovoy otdachi i yarkosti svetilynikov;
- obespechenie bolyshogo sroka sluzhbi;
- vozmozhnosty raboti svetilynikov sistemi v shirokom diapazone temperatur (ot -196°C do +150°C).
Kratkoe opisanie ustroystva sistemi:
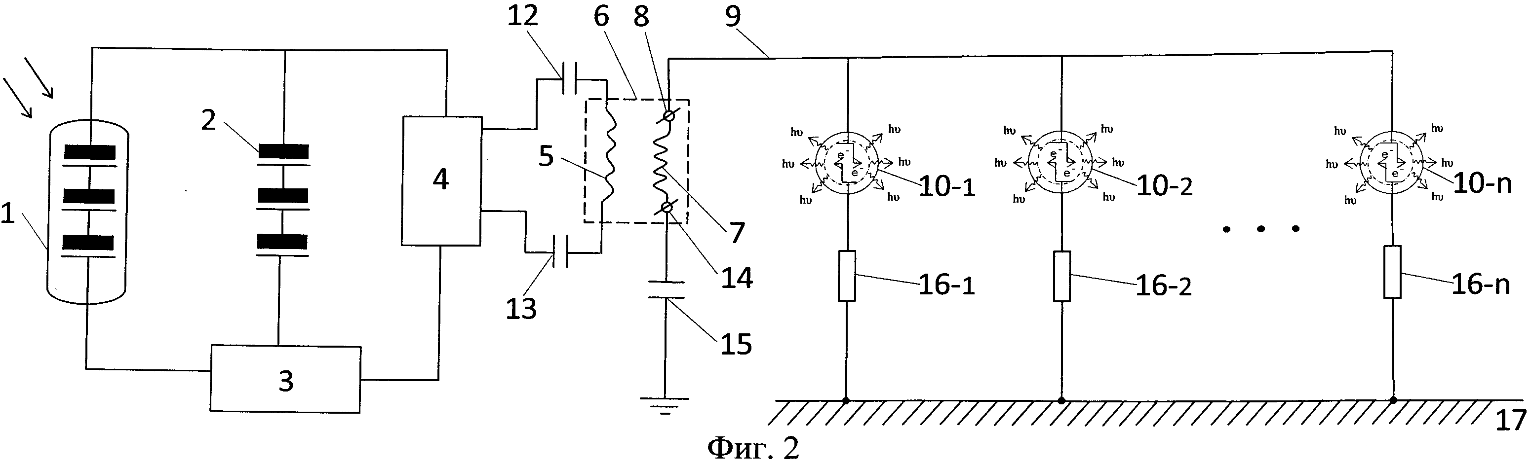
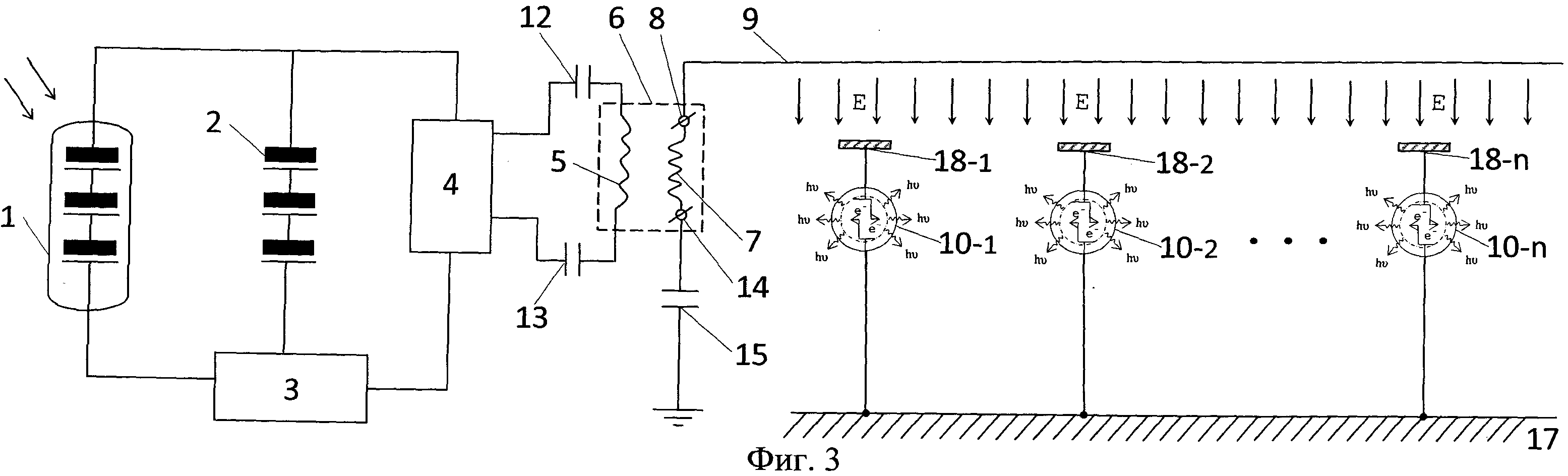
Sistema elektricheskogo osveshteniya soderzhit solnechnuyu batareyu, akkumulyator elektricheskoy energii, kontroller zaryada, invertor, transformator, elektricheskuyu liniyu i svetilyniki, rabotayushtie na osnove effekta katodolyuminestsentsii pod deystviem elektronov, emitiruemih avtokatodom iz nanostrukturirovannogo uglerodnogo materiala.
Изобретение представляет собой систему электрического освещения, в которой обеспечивается снижение стоимости системы, снижение потерь энергии, увеличение срока службы (не ниже 50 тыс. часов), обеспечен
ie visokih ekologicheskih harakteristik pri proizvodstve i utilizatsii lamp sistemi, dostizhenie znachitelynoy ekspluatatsionnoy effektivnosti sistemi osveshteniya za schet visokoy svetovoy otdachi i yarkosti lamp, vozmozhnosty raboti lamp v shirokom diapazone temperatur (ot -196°S do +150°S).
Tehnicheskim rezulytatom izobreteniya yavlyayutsya:
- snizhenie stoimosti sistemi elektricheskogo osveshteniya;
- snizhenie potery energii;
- obespechenie visokih ekologicheskih harakteristik pri proizvodstve i utilizatsii svetoizluchateley sistemi;
- dostizhenie znachitelynoy ekspluatatsionnoy effektivnosti za schet visokoy svetovoy otdachi i yarkosti svetilynikov;
- obespechenie bolyshogo sroka sluzhbi;
- vozmozhnosty raboti svetilynikov sistemi v shirokom diapazone temperatur (ot -196°C do +150°C).
Kratkoe opisanie ustroystva sistemi:
Sistema elektricheskogo osveshteniya soderzhit solnechnuyu batareyu, akkumulyator elektricheskoy energii, kontroller zaryada, invertor, transformator, elektricheskuyu liniyu i svetilyniki, rabotayushtie na osnove effekta katodolyuminestsentsii pod deystviem elektronov, emitiruemih avtokatodom iz nanostrukturirovannogo uglerodnogo materiala.
Медиафайлы
Патенты
СИСТЕМА ЭЛЕКТРИЧЕСКОГО ОСВЕЩЕНИЯ (ВАРИАНТЫ)
RU2505744