Автоэмиссионный источник излучения
Разработка

ID
15QW-730V
Пользователь
Категория
H - электричество
Стоимость
150,000,000 ₽
Опубликован
27.03.2024 13:30
Срок разработки
24 месяцев
Описание
Разработка в области источников излучения как в видимом, так и в ультрафиолетовом, диапазоне.
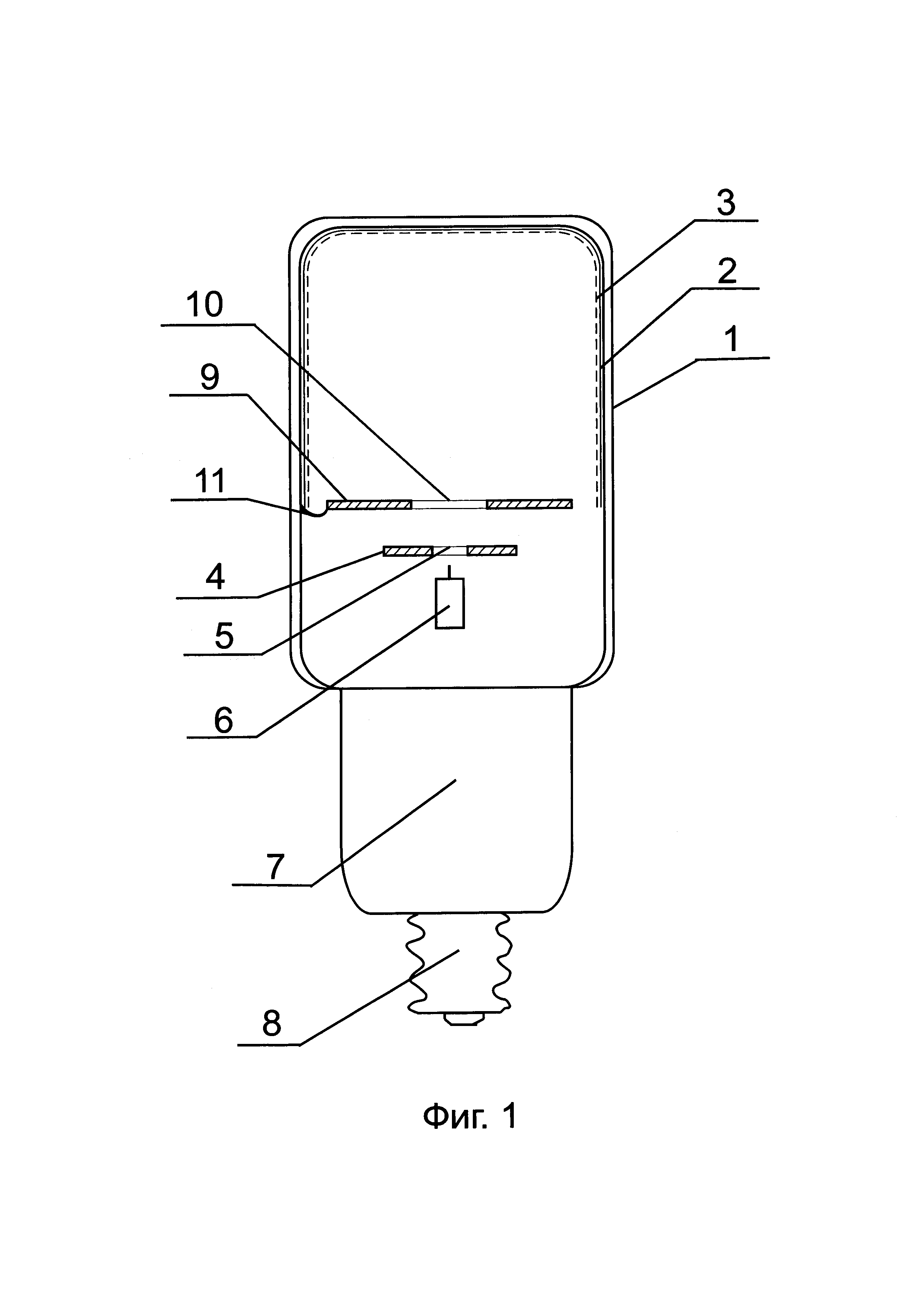
Сущность разработки заключается в том, что в автоэмиссионый источник излучения, содержащий колбу, на внутреннюю поверхность которой нанесено прозрачное проводящее покрытие и катодолюминофор, введен анод со вторым отверстием, расположенный между катодолюминофором и модулятором. При этом прозрачное п
rovodyashtee pokritie i katodolyuminofor naneseni na vnutrennyuyu poverhnosty kolbi do anoda, kotoriy elektricheski soedinen s prozrachnim provodyashtim pokritiem.
Tehnicheskiy rezulytat izobreteniya zaklyuchaetsya v uvelichenii ravnomernosti elektronnogo potoka, kotoriy bombardiruet katodolyuminofor. Tem samim uvelichivaetsya ravnomernosty svecheniya katodolyuminofora i povishaetsya effektivnosty istochnika izlucheniya.
Razrabotka imeet sleduyushtie konfiguratsii:
- v katodolyuminofor vveden poroshok poluprovodnikovogo soedineniya s bolyshim koeffitsientom vtorichnoy emissii, chem u katodolyuminofora;
- v kachestve poluprovodnikovogo soedineniya ispolyzuyut Cu-Al-MgO, ili Ag-MgO, ili Ni-BeO. Yato privodit k dopolnitelynoy emissii po poverhnosti katodolyuminofora, chto k uvelichivaet ravnomernosty elektronnogo potoka i povishaet effektivnosty istochnika izlucheniya;
- kolba imeet tsilindricheskuyu/sfericheskuyu/grushevidnuyu formu;
- katodniy uzel s avtoemissionnim katodom vipolnen iz poliakrilonitrilynogo uglerodnogo volokna/uglerodnih nanotrubok/grafena.
Сущность разработки заключается в том, что в автоэмиссионый источник излучения, содержащий колбу, на внутреннюю поверхность которой нанесено прозрачное проводящее покрытие и катодолюминофор, введен анод со вторым отверстием, расположенный между катодолюминофором и модулятором. При этом прозрачное п
rovodyashtee pokritie i katodolyuminofor naneseni na vnutrennyuyu poverhnosty kolbi do anoda, kotoriy elektricheski soedinen s prozrachnim provodyashtim pokritiem.
Tehnicheskiy rezulytat izobreteniya zaklyuchaetsya v uvelichenii ravnomernosti elektronnogo potoka, kotoriy bombardiruet katodolyuminofor. Tem samim uvelichivaetsya ravnomernosty svecheniya katodolyuminofora i povishaetsya effektivnosty istochnika izlucheniya.
Razrabotka imeet sleduyushtie konfiguratsii:
- v katodolyuminofor vveden poroshok poluprovodnikovogo soedineniya s bolyshim koeffitsientom vtorichnoy emissii, chem u katodolyuminofora;
- v kachestve poluprovodnikovogo soedineniya ispolyzuyut Cu-Al-MgO, ili Ag-MgO, ili Ni-BeO. Yato privodit k dopolnitelynoy emissii po poverhnosti katodolyuminofora, chto k uvelichivaet ravnomernosty elektronnogo potoka i povishaet effektivnosty istochnika izlucheniya;
- kolba imeet tsilindricheskuyu/sfericheskuyu/grushevidnuyu formu;
- katodniy uzel s avtoemissionnim katodom vipolnen iz poliakrilonitrilynogo uglerodnogo volokna/uglerodnih nanotrubok/grafena.
Медиафайлы
Патенты
Автоэмиссионный источник излучения
RU2797573